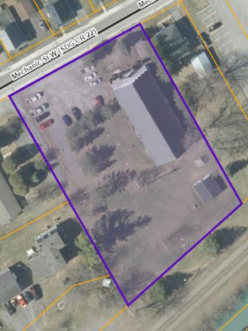
On Monday, November 10, North Glengarry Council unanimously approved the first phase of Marseni Real Estate Inc.’s apartment project at 10 Mechanic Street West in Maxville. The construction project includes two new nine-unit buildings and a parking lot, which will be added to the site surrounding the existing 12-unit apartment.
Director of Building, By-law, and Planning Jacob Rheaume said the site plan was first presented to council on September 8, and that Marseni was ready to begin construction once the site plan development agreement was approved. He confirmed that the design plans meet all municipal and provincial requirements.


The development includes 37 parking spaces, two three-storey buildings containing a total of 18 two-bedroom units, along with the existing 12-unit apartment building, which will remain in place.
Rheaume said the project is moving quickly, with many of the building permits already prepared and groundwork underway for the first building’s foundation. “We expect the buildings to be up before Christmas,” he said.
Council approved the by-law without further discussion.
